ПРОМСИТЕХ — российская компания, разработчик, производитель и дистрибьютор компонентов для промышленной автоматизации.

Описание

  • Описание
  • Преимущества
  • Применение
  • Характеристики
  • Габариты
  • Документация

Фильтры электромагнитной совместимости — представляют собой устройства, которые снижают уровень электромагнитных помех от преобразователя частоты в питающую сетью.

Преобразователи частоты создают электромагнитные помехи в питающей сети, к которой они подключены. Электромагнитные (кондуктивные) помехи влияют на работу чувствительного электронного оборудования, которое питается от той же сети электропитания. Для некоторых применений уровень электромагнитных помех от ПЧ может быть важным параметром (например, если рядом с ПЧ установлены внешние контроллеры, сканеры, устройства электронных защит и т.д.).

По стандарту все преобразователи частоты разделяются на категории по уровню создаваемых помех: от С3 до С1, где устройства с категорией С1 создают минимальные помехи:

Продукция INNOVERT* соответствует двум категориям, которые также условно привязаны к месту установки:

  • С3 — «промышленные зоны», т.е. производственные площадки, цеха и пр. Категории С3 изначально соответствует серия IPD, IPD-VR, IMD_E
  • С2 — «жилые зоны», в т.ч. офисные помещения, торгово-развлекательные центры. Категории С2 соответствуют все серии трехфазных ПЧ при условии совместного использования с ЭМС-фильтрами серии RFI4C.

* Без подключенного ко входу ЭМС-фильтра, все серии преобразователей частоты INNOVERT, кроме IPD, IPD-VR, IMD_E, создают помехи выше уровня С3.

  • Повышение надежности работы оборудования — фильтры уменьшают уровень кондуктивных помех, поступающих от преобразователя частоты в питающую сеть, которые могут приводить к сбоям в работе систем управления, датчиков и даже компьютеров.
  • Соответствие требованиям стандартов электромагнитной совместимости — фильтры способствуют соблюдению международных стандартов, таких как IEC 61800-3.
  • Улучшение качества электроэнергии — это может привести к снижению потребления энергии и увеличению срока службы оборудования.
  • Снижение уровня шума — фильтры уменьшают шум, создаваемый оборудованием, что особенно важно для применения в жилых и офисных помещениях.
  • Фильтры обладают превосходными характеристиками подавления помех диапазоне 150 кГц ~ 30 МГц (категория С2 для промышленных применений)
  • Клеммы для подключения проводов имеют компактную эргономическую конструкцию
  • Повышение надежности всей системы преобразователя частоты в целом
  1. Приводы 3х фазных двигателей с регулируемой частотой вращения, сервоприводы, преобразователи частоты и конвертеры
  2. Устройства для преобразования энергии, такие как машины и автоматическое оборудование
  3. Оборудование для вентиляции и кондиционирования (HVAC), лифты, источники питания, 4. источники бесперебойного питания (ИБП), машины для литья под давлением

Ветрогенераторы, солнечные инверторы и насосы, гибридные инверторы, другие типы инвертеров «зеленой» (альтернативной) энергетики

Модель
ЭMC-фильтра

Ток ЭМС-фильтра,
А

Мощность ПЧ,
кВт (~ 380 В)

Входной ток ПЧ,
А

Сечение подключаемого  проводника, мм2

Рекомендуемый момент  затяжки, Нм

RFI4C5N33

5

0,75-2.2

3,7-7

0,5-6

1,0-1,2

RFI4C10N33

10

3.0-4.0

7,6-10,7

0,75-6

1,0-1,2

RFI4C20N33

20

5.5-7.5

15-21,2

1,2-6

1,2-1,5

RFI4C40N33

40

11.0-15.0

26-35

4-10

1,5-1,8

RFI4C55N33

55

18.5-22.0

38-48

6-16

4,0-4,5

RFI4C65N33

65

30

50-62

8-25

4,0-4,5

RFI4C80N33

80

37

67-76

10-35

4,0-4,5

RFI4C100N33

100

45

82-92

16-50

7-8

RFI4C150N33

150

55

105-113

25-60

9-10

RFI4C200N33

200

75-90

140-180

35-100

17-20

RFI4C250N33

250

110-132

210-214

50-120

17-20

Ток ЭМС-фильтра,
А

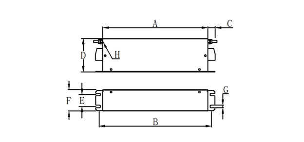
A

B

C

D

E

F

G

H

5

168

18

15,5

75

20

40

4,5

М5

10

168

180

15,5

75

20

40

4,5

М5

20

220

235

15,5

75

25

45

5,5

М5

40

240

255

35

85

30

50

5,5

М5

55

220

235

35

90

6

85

5,5

М6

65

220

235

35

90

60

85

5,5

М6

80

240

255

38,5

140

60

85

6,5

М8

100

240

255

38,5

140

60

85

6,5

М8

150

240

275

40

100

165

205

11,5

М10

200

240

275

40

100

165

205

11,5

М10

250

240

275

40

100

165

205

11,5

М10

Все товары категории

Артикул: RFI4C250N33
Мощность, кВт: 110-132
Номинальный ток, А: 250
80 890 ₽
Артикул: RFI4C200N33
Мощность, кВт: 75-90
Номинальный ток, А: 200
53 450 ₽
Артикул: RFI4C150N33
Мощность, кВт: 55
Номинальный ток, А: 150
46 210 ₽
Артикул: RFI4C100N33
Мощность, кВт: 45
Номинальный ток, А: 100
35 700 ₽
Артикул: RFI4C80N33
Мощность, кВт: 37
Номинальный ток, А: 80
32 130 ₽
Артикул: RFI4C65N33
Мощность, кВт: 30
Номинальный ток, А: 65
27 340 ₽
Артикул: RFI4C55N33
Мощность, кВт: 18,5-22
Номинальный ток, А: 55
12 650 ₽
Артикул: RFI4C40N33
Мощность, кВт: 11-15
Номинальный ток, А: 40
10 100 ₽
Артикул: RFI4C20N33
Мощность, кВт: 5,5-7,5
Номинальный ток, А: 20
8 470 ₽
Артикул: RFI4C10N33
Мощность, кВт: 3-4
Номинальный ток, А: 10
6 220 ₽
Артикул: RFI4C5N33
Мощность, кВт: 0,75-2,2
Номинальный ток, А: 5
4 900 ₽

Запросить консультацию

Заполните данные поля и мы с Вами свяжемся в течение нескольких минут

Остались вопросы?

Мы свяжемся с вами в ближайшее время

Изображение оборудования
Получить каталог

Укажите адрес электронной почты, куда мы направим каталог

Укажите, кем Вы являетесь:

Подпишитесь на новости

Укажите, кем Вы являетесь:

Обратный звонок

Заполните данные поля, и мы с Вами свяжемся в течение дня.

Запрос на консультацию

Связаться с представителем

Стать дилером

Если Вы - руководитель компании, занимающейся автоматизацией и/или продажей компонентов для автоматизации как основным видом деятельности и желаете обсудить вопрос торгового партнерства (представлять продукты собственных марок Промситех (INNOVARI, INNORED, INNOVERT, INNOLEVEL, INNOCONT, а также Baumer и Autonics)в своем регионе, просьба заполнить данный опросный лист

Он будет рассмотрен отделом регионального развития Промситех в течение 1-2 дней. Мы свяжемся с Вами по указанным контактным данным для обсуждения этого вопроса (Радмила Цыплина, privod5@prst.ru)

Заполнение опросного листа займет 10-20 минут. Опросный лист нужен для получения общего представления о деятельности Вашей фирмы для принятия решения о дальнейшей совместной работе.

Направление деятельности, краткое описание бизнеса Ассортимент товаров и услуг(продажи, инжиниринг, производство и др. , примерно в какой пропорции распределен оборот между видами деятельности)

Какой процент от Вашего оборота (из 100%) у Вас пришлось в прошлом году на область (край, республика), в которой находится Ваше предприятие?

Какой оборот у Вашей компании за прошлый год?

Какие средства Вы используете для расширения рынка сбыта и привлечения новых заказчиков?(инвестиции в рекламу, интернет, активные продажи по телефону, поездки к клиентам). Опишите основное направление активности

С какими фирмами (поставщиками, брэндами) по частотному приводу, мотор-редукторам, датчикам сотрудничаете и как долго? Сколько у Вас **основных** поставщиков продукции ?

Есть ли собственные разработки (краткое описание)?

Количество сотрудников \ из них продавцов \ из них инженеров в фирме ?

Имеет ли управляющий (директор) техническое образование?

Есть ли у Вашего предприятия филиалы в других регионах РФ? (если есть, то в каких)

В каких отраслях промышленности Вы наиболее активны?

Какие дополнительные (к продаже/проекту) услуги Вы оказываете клиентам? (пуско-наладка, доставка, консультации/техподдержка, предоставление на испытания и т.д.) Предоставляете ли Вы клиентам особые условия по оплате (отсрочки платежа и т.п.)?

Укажите интересующие Вас товарные группы. Указываете только те, которыми планируете заниматься (продвигать) в качестве основных.

Готовы ли Вы освоить Личный кабинет дилера для самостоятельной работы с клиентом после заключения договора в течении 3-4 дней?

Оставить запрос

Заполните данные поля и мы с Вами свяжемся в течение нескольких минут

По вопросу о:

Учебный центр | Курсы и вебинары

Узнать о поступлении

Войти в личный кабинет
Спасибо за заявку!

Ваша заявка была успешно отправлена. Мы с Вами свяжемся в течение дня.

Спасибо за заявку!

Ваша заявка была успешно отправлена. Мы с Вами свяжемся в течение дня.

Спасибо за обращение!

Ваш запрос был успешно отправлен.

Спасибо за заявку!

Каталог был отправлен на указанную электронную почту.

Спасибо за заявку!

Ваша заявка была успешно отправлена. Мы с Вами свяжемся в ближайшее время.

Спасибо за заявку!

Она будет рассмотрена Дилерским отделом ПРОМСИТЕХ в течение 1-2 дней. Мы свяжемся с Вами по указанным контактным данным для обсуждения этого вопроса (Радмила Цыплина, Руководитель дилерского отдела, r.tsiplina@promsytex.ru)

Спасибо!

Спасибо за использование лицензионного ПО InnoControl!